Als de uitvinder van het HAMMOND orgel is Laurens Hammond één van de grote stamvaders van de algehele elektronische muziek industrie. Zijn weg naar de uitvinding en de realisatie van het HAMMOND orgel was er echter wel één met vele omwegen.
Na het genieten van een belangrijk deel van zijn vroege onderwijs en vorming in Europa, (waar zijn familie naartoe verhuisd was in 1898) studeerde Laurens Hammond in 1916 af aan de Cornell University met een graad in de werktuigbouwkunde. Na zijn afstuderen ging hij werken voor de McCord Radiator Company in Detroit Michigan, maar zijn carrière werd daar onderbroken door de Eerste Wereldoorlog. Na te zijn tewerkgesteld in het Amerikaanse leger in Frankrijk bedacht Laurens een geluidsarme klok door de motor in te kapselen in een geluidsdichte kast.
Vrijwel onbekend is het feit, dat hij al op zijn 16e een barometer uitvond, die zo buitengewoon precies was, dat hij het luchtdrukverschil tussen zijn bureaublad en de grond waarop hij stond, kon meten. De markt was voor deze uitvinding echter nog niet klaar en Laurens verdiende aan deze uitvinding slechts $ 300,-.
Verliefd op het uitvinden, ging Laurens werken als ingenieur voor een Automobiel Company in Detroit, maar hij verliet die baan weer en verhuisde naar New York City om zijn energie full-time te wijden aan de tikloze klok en vele andere uitvindingen.
Tijdens deze fase van zijn carrière deed hij nog een zeer belangrijke uitvinding: een synchroon-motor, ontworpen om in fase te draaien, gebaseerd op de 60-Hertz wisselspanning, die standaard was geworden in het lichtnet van dat moment.
Door het plaatsen van deze motor in zijn geluidsarme klok, was Hammond in staat om een totaal geluidloze elektrische klok te maken. Dit was in 1928 en leidde direct tot oprichting van de Hammond Clock Company.
Het belangrijkste element in de elektrische klok die door de Hammond Clock Co. werd gefabriceerd was dus de kleine, duurzame elektrische synchroon motor.
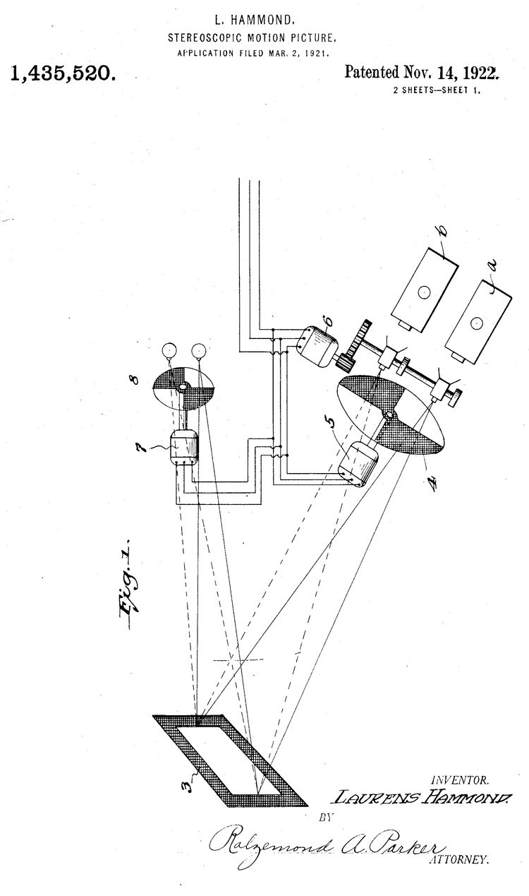
Hammond had deze motor voor het eerst al gebruikt in zijn Teleview. De Teleview was een drie dimensionale film projector. Het project werd na een maand al beëindigd als gevolg van kritische kanttekeningen van het Selwyn Theater in New York City op 27 december 1922.
Die motor stuurde een speciale zoeker aan met een roterende sluiter, die het voor het publiek mogelijk maakte om op drie dimensionale wijze waar te nemen, doordat twee projectoren gelijktijdig een beeld projecteerden op een beeldscherm.
Op dat moment was de enige relatie, die Hammond's synchroon motor met muziek had, in de orkestrale begeleiding die gecomponeerd en gedirigeerd werd door Paul Tietjens, een bekende Amerikaanse componist die later een zwager van Hammond zou worden.
John Borden, aandeelhouder van de Chicago Mining Company, wiens dochter uiteindelijk met de latere Vice president Adlai Stevenson trouwde, verloor in die film-projector onderneming een lieve som van US $ 120.000,- In die tijd helemaal, maar ook nu nog een groot bedrag, maar Hammond beet zich nu helemaal vast in zijn synchroonmotor.
Laurens Hammond ontving van Ziegfeld-Theaters wekelijks een royalty van US$ 350,- voor een versimpelde versie van de projector die gebruikt werd voor speciale effecten in de Ziegfeld Follies van 1925. Deze werkte met het bekende rood-groene brilletje. Dit heeft Hammond er toe gebracht om als zelfstandig uitvinder te gaan werken in plaats van een bedrag ter grootte van US$ 64,- per week te verdienen door voor Western Electric te gaan werken.
Het volgende jaar begon hij samen met E.F. Andrews de Andrews Hammond Labotaries. Andrews, die voorheen radio fabrikant was, vond samen met Hammond de A-box uit, een product dat het mogelijk maakte om een radio die destijds gewoonlijk op batterijen speelde ook op het lichtnet kon worden aangesloten.
In minder dan een jaar waren er met succes radio’s op de markt zonder batterijen. Geen gedoe meer met batterijen, want alle radio's speelden tot dan toe op batterijen.
Uit het partnerschap met Andrews die vele jaren als directeur van de Hammond Co. fungeerde en die ook een van de belangrijkste aandeelhouders was, ontstond de basis van een laboratorium, een kleine Research and Development afdeling, ook wel R&D genoemd, een onderzoek en ontwikkelingslaboratorium dus.
Gedurende deze beginperiode waarin de A-Box beschikbaar kwam werd er ook een verkoopstaf samengesteld: F.H. Redmond vice president en general manager tot zijn dood in 1953, als wel Emorv Penny, sales manager tot hij ontslag nam in 1944 om het bedrijf Penny-Owsley Music. Co. in Los Angeles te gaan leiden.
Hieronder de beroemde synchroon-motor
Hammond had een groot zakelijk succes, maar door de Grote Depressie veranderde dat.
Zoekend naar nieuwe toepassingen voor zijn synchroom-motor bedacht hij, dat het elektronische orgel hiervoor een potentieel geschikt instrument zou kunnen zijn, waarop het testen van een prototype begon in 1933.
In 1933 verlegde hij dus zijn aandacht naar de productie van elektrische orgels.
Laurens Hammond was naast een goed technicus ook een briljant zakenman. Hij dacht, dat het mogelijk moest zijn om de dure en onderhouds intensieve pijporgels te vervangen door een goedkopere elektrische equivalent en dat daar een enorme markt voor moest zijn.
Hij kocht een oude piano, gooide alles weg behalve het toetsenbord en begon te experimenteren met allerlei schakelingen en kwam uiteindelijk uit op een zogeheten toonwielgenerator, die aangedreven werd door zijn synchroon-motor.
Hieronder een gesigneerde foto met een pianotoets:
Dit was een gat in de markt en het werd booming-business. In 1953 werd de naam "Hammond Instrument Company" veranderd in "Hammond Organ Company" omdat orgels voor Hammond de core-business werden.
Gedurende zijn loopbaan vond hij nog de meest uiteenlopende dingen uit, zoals een elektrische bridgetafel. Het was 1932, middenin de grote depressie. De tafel bracht niet meer op dan $ 25,-, maar door er 14.000 te verkopen was de uitvinding toch lucratief.
Ook raket besturingssystemen en een automatische versnellingsbak, een sluiter-systeem voor luchtverkenningscamera's en zelfs het nu nog bekende groen-rode brilletje, om 3-D films te kunnen zien, vond hij uit. En dit is nog maar een kleine opsomming.
Hammond kreeg op 24 april 1934 zijn eerste patent op zijn orgel. De eerste order voor Hammond orgels kwam vrijwel onmiddellijk van ingenieurs, die bij Henry Ford werkten. Deze hadden opdracht om te kijken of het fabriceren van orgels iets was waar Ford zijn industriën mee kon uitbreiden. Op 7 februari kocht Ford zes orgels.
In 1950 ontwikkelde Hammond het betaalbare Chord-organ, eigenlijk het allereerste
keyboard ter wereld. Het was speciaal ontwikkeld voor mensen, die nog nooit een toetsinstrument bespeeld hadden.
Klik op de onderstaande link en u krijgt een korte, prachtige film over hoe het allemaal begon en opbloeide:
Laurens Hammond bleef president-directeur van het bedrijf tot 1955, waarna hij zijn functie neerlegde om zich op research te concentreren. In 1960, op de leeftijd van 65 jaar, stopte hij met werken en trok zich geheel terug uit de orgel business. Hij is na die datum nooit meer op de fabriek geweest.
Laurens Hammond overleed op 78-jarige leeftijd in 1973.
Hij was schatrijk geworden en had over de hele wereld villa's en buitenhuizen. Toen hij stierf had hij in totaal 110 patenten op zijn naam staan.
Op deze website plaatsen we cookies die de website goed laten werken of anoniem het gebruik van onze website analyseren.
We plaatsen geen cookies waar u toestemming voor moet geven. Meer informatie vindt u in onze privacyverklaring of geef akkoord en sluit deze melding.