static musical tone generator system 28 OKT 1955 US2921494 :
Acoustic apparatus 26 OCT 1948 US2727583
Acoustic apparatus for producing tremolo and vibratoUS3174579
Apparatus for chlorination OF POOLS US2820701
Apparatus for minimizing beat effects 26 JAN 1959 US3049040
Apparatus for producing phase shift in electronic organs AUG 28 1961 US3159706
COMPLEMENTARY HARMONIC SYSTEM FOR FLUTE TYPE ORGANS 17 MEI 1965 US3432608
Cross-wired organ system and rectifier therefor 25 FEBR 1957 US2949803
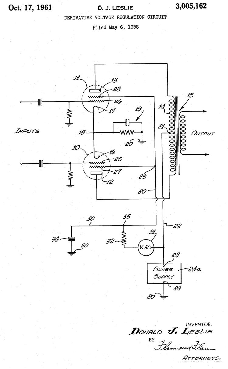
Derivative voltage regulation circuit 6 MEI 1958 US3005162
Electrical circuit arrangement for complex wave generators 29 JAN 1959 US3041910
Electronic musical instrument incorporating rotary electrostatic devices for producing celeste or chorus effects 10 MAR 1964 US3372225
ELECTRONIC ORGAN UTILIZING PROPORTIONAL FREQUENCY CHANGES FOR HARMONIC STRUCTURE 1 FEBR 1966 US3458642
Electrostatic musical tone generator system 28 OKT 1955 US2921494
Mercury slip ring assembly 26 DEC 1958 US3014192
Multiple sound channel tremolo device US3100024
modeltrain control system
MULTIVOICE ELECTRONIC ORGAN 10 DEC 1965 US3420941
Pitch broadening apparatus for musical instruments having electronic tone generators 28 DEC 1958 US3146291
Planetary acoustic phase shift mechanism US4017685
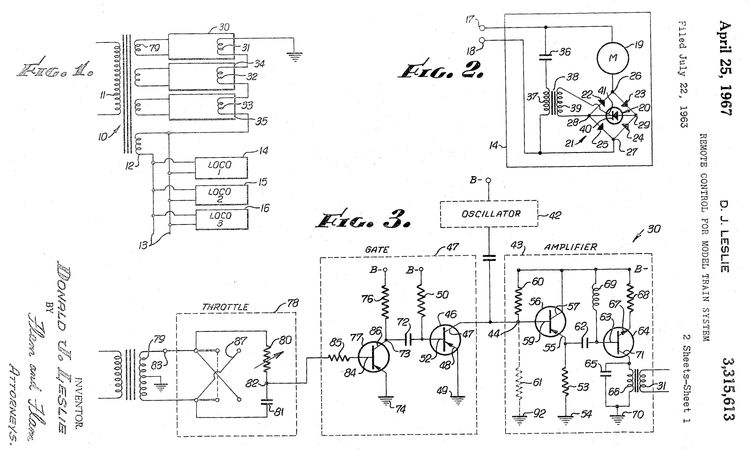
Remote control for model train system US3315613
Rotary electrostatic speaker US3058541
Rotary tremolo device having means for mixing signals emanating from rotary and non-rotary sources 21 DEC 1959 US2995054
Rotatable tremulant sound producer 3 JAN 1956 US2869667
Rotatable tremulant sound producer US2489653
Selective high frequency compression device for speaker system 4 FEBR 1976 US4084474
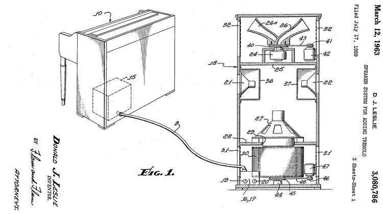
Speaker system for adding tremolo US3080786
SPEAKER SYSTEM FOR PULSATO AND CELESTE EFFECTS 28 JULI 1967 US3499114
Step-by-step electrical circuit controller 26 AUG 1950 US2742537
Stereophonic system for electronic organs US4622878
Swimming pool water level control system 6 MEI 1952 US2739939
System for recording and reproducing electric organ musicUS3095477
U Rotatable tremulant sound producer S2618352
ELEKTRONIC SPEAKER SYSTEEM 24 SEPT 1948 US2596258
MULTIPLE CHANNEL SPEAKER SYSTEM JULI 1955 US2887000
Vibrato oscillator for electronic organs or the like 5 DEC 1958 US2994240
Op deze website plaatsen we cookies die de website goed laten werken of anoniem het gebruik van onze website analyseren.
We plaatsen geen cookies waar u toestemming voor moet geven. Meer informatie vindt u in onze privacyverklaring of geef akkoord en sluit deze melding.