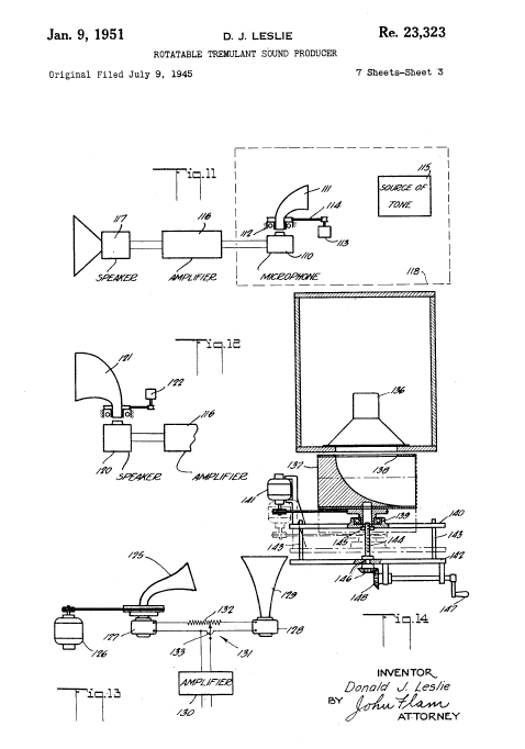
Het idee voor boven-louvre sleuven voor de bovenrotor was er nog niet.
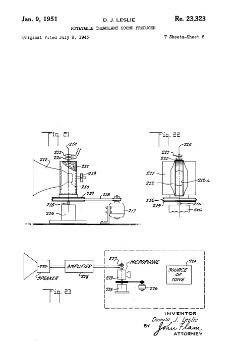
Het scharnierende bovendeksel van de Leslie moest bij gebruik open gezet worden.
Op deze website plaatsen we cookies die de website goed laten werken of anoniem het gebruik van onze website analyseren.
We plaatsen geen cookies waar u toestemming voor moet geven. Meer informatie vindt u in onze privacyverklaring of geef akkoord en sluit deze melding.