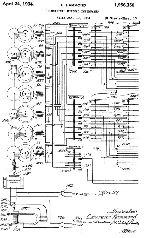
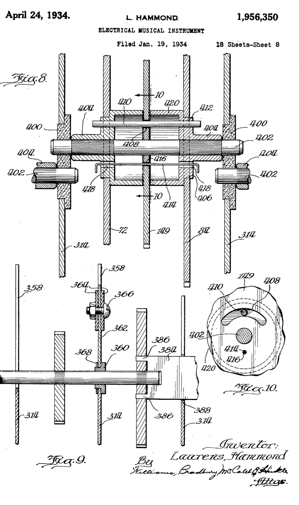
De originele Patentaanvraag,
gedaan op 19 jan 1934
door Laurens Hammond